Zodiac Aerospace‘in HD31-3 uçak içi arı kovanı kabinleri konsepti basına sızdı.

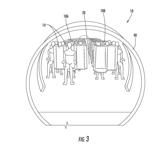
Uçak içi sistemler geliştiren fransız firması Zodiac Aerospace tarafından ileri – geri şeklinde oluşturulan ve arı kovanına benzeyen konsept bir tasarımla karşımıza çıkan Zodiac firması gelecekte uçak içi oturma sistemlerinin nasıl olacağını bizlere gösteriyor.
Konsept tasarımla birlikte ile ekonomik sınıfta 2 kat daha fazla yolcunun taşınması ve böylece uçak bileti fiyatlarının daha aza indirgenmesi planlanıyor.

Uzmanlar bu konseptin varolması halinde kabin içi servis konusunda hosteslerin, tuvalete gitme konusunda da yolcuların zorlanabileceğinden dolayı havayolu firmaları tarafından pek tercih edilmeyeceğini, ayrıca uzmanlar yabancılarla göz teması kurulmasının önlenemeyeceğinden dolayı bu durumun ilginç durumlara sebebiyet vereceğini belirttiler.
Zodiac firmasının geçen yıl Hamburg Expo fuarında tanıttığı bu konsepte bakalım beklediği ilgi olacak mı?

